Прибор №1 для определения содержания эфирного масла по методу Клевенджера

Прибор №1 для определения содержания эфирного масла по методу Клевенджера

Предзаказ
Рейтинг:


  • Производитель: Россия
  • Артикул: 1767

Сертификация
Доставка
Оплата
13 лет на рынке
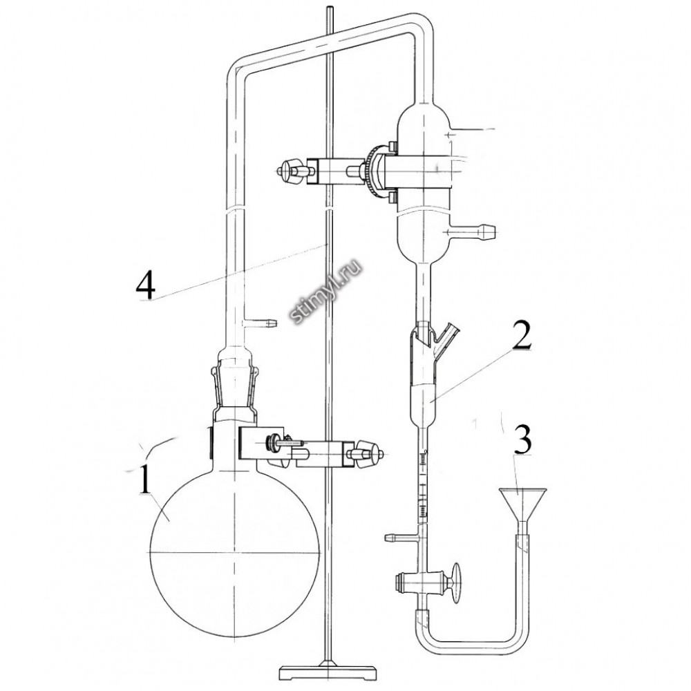
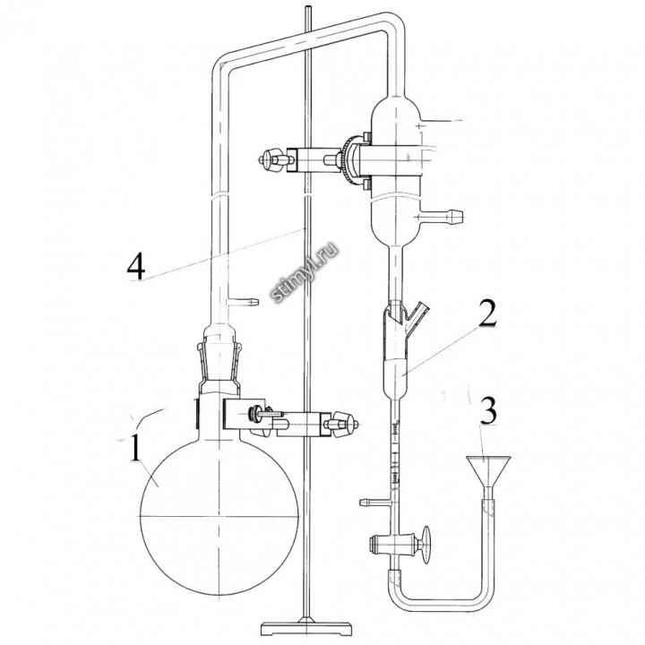
Прибор предназначен для определения содержания эфирного масла в растительном сырье по методу Клевенджера путем перегонки его с водяным паром и последующего измерения объема полученного масла, выраженного в процентах по отношению к абсолютно сухому сырью. Методики проведения испытания и расчета по ГОСТ 24027.2-80. Прибор состоит из:
  1. испарительной колбы вместимостью 1000 мл
  2. системы охлаждения
  3. воронки лабораторной В-36-50
Номинальная вместимость измерительной трубки, мл – 1Цена деления шкалы, мл - 0,02Допустимая погрешность, мл - ± 0,02Габаритные размеры, мм - 265х131х730Шифр – 1767ТУ 4321-004-07609129-00
Шифр изделий, входящих в прибор
277Воронка лабораторная В-36-50
1499Колба круглодонная К-1-1000-29/32
2994Система охлаждения
Характеристики
ГОСТ/ТУ
4321-004-07609129-00
Материал
Стекло

Написать отзыв

Внимание: HTML не поддерживается! Используйте обычный текст!
Я прочитал Политика конфиденциальности и согласен с условиями

Документы

Документы на товар доступны только клиентам. Свяжитесь с нами и мы вышлем на ваш e-mail:

  • сертификаты
  • паспорта
  • инструкции
  • ГОСТ и ТУ

Цена и наличие

Цену и наличие уточняйте у наших специалистов. Описание и фото товара носят информационный характер и могут отличаться от описания, представленного в технической документации производителя. Обращаем ваше внимание на то, что данный интернет-сайт носит исключительно информационный характер и ни при каких условиях не является публичной офертой, определяемой положениями Статьи 437 Гражданского кодекса Российской Федерации. Рекомендуем перед покупкой проверять характеристики товара у наших менеджеров.