Прибор Росс-Майлса

Прибор Росс-Майлса

Предзаказ
Рейтинг:


  • Производитель: Россия
  • Артикул: 827

Сертификация
Доставка
Оплата
13 лет на рынке
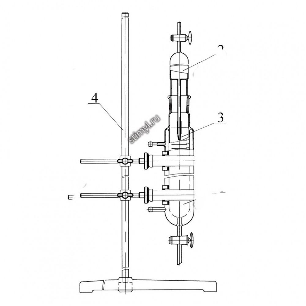
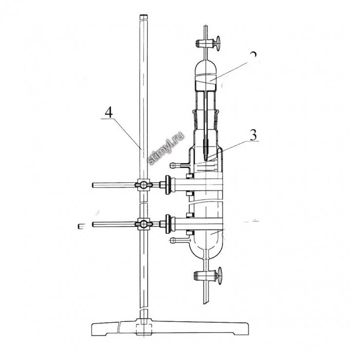
Прибор Росс-Майлса применяется для определения пенообразующей способности пеномоющих, порошкообразных, пастообразных и других моющих средств по методике ГОСТ 22567.1-77. Состоит из:
  1. мерного цилиндра,помещенного в водяную рубашку, снабженную двумя выводами для соединения с термостатом
  2. сосуда
  3. пипетки
  4. прибор закрепляется на штативе
По просьбе потребителя прибор может поставляться без штатива.Диапазон измерения высоты столба пены, мм - от 0 до 920
  • Цена деления шкалы, мм - 2
  • Предел допускаемой погрешности, мм - ± 2
  • Габаритные размеры, мм - 400х 310х1630
  • Шифр со штативом - 827
  • Шифр без штатива - 1435
  • ТУ 4321-001-07609129-00
Шифр изделий, входящих в прибор
2161Пипетка
2360Сосуд
Характеристики
ГОСТ/ТУ
4321-001-07609129-00
Материал
Стекло

Написать отзыв

Внимание: HTML не поддерживается! Используйте обычный текст!
Я прочитал Политика конфиденциальности и согласен с условиями

Документы

Документы на товар доступны только клиентам. Свяжитесь с нами и мы вышлем на ваш e-mail:

  • сертификаты
  • паспорта
  • инструкции
  • ГОСТ и ТУ

Цена и наличие

Цену и наличие уточняйте у наших специалистов. Описание и фото товара носят информационный характер и могут отличаться от описания, представленного в технической документации производителя. Обращаем ваше внимание на то, что данный интернет-сайт носит исключительно информационный характер и ни при каких условиях не является публичной офертой, определяемой положениями Статьи 437 Гражданского кодекса Российской Федерации. Рекомендуем перед покупкой проверять характеристики товара у наших менеджеров.